 
		 
 
	 
  
 
手機購
更方便
	 
 
	 
 
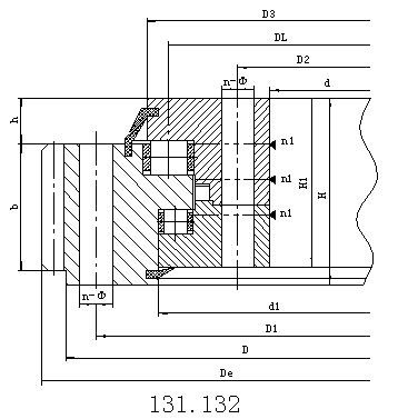
	三排滾柱式外齒型轉盤軸承
結構特點、性能、適用范圍 
       三排滾柱式回轉支承有三個座圈,上 下及徑向滾道各自分開,使得每一排滾柱的負載都能確切地加以確定。能夠同時承受各種載荷,是四種產品中承載能力很大的一種,軸、徑向尺寸都較大,結構牢 固,特別適用于要求較大直徑的重型機械,如斗輪式挖掘機、輪式起重機、船用起重機、港口起重機、鋼水運轉臺及大噸位汽車起重機等機械上。
 
	
 
	
 
	       回轉支承應用廣泛,工程機械是回轉支承起初應用也是應用廣泛的地方,如土方機械、挖掘機、解體機、堆取料機、平地機、壓路機、強夯機、鑿巖機械、掘進機等。其他的還有混凝土機械:混凝土泵車、混凝土攪拌布料桿一體機、帶式布料機給料機械:圓盤式給料機、混砂機;起重機械:輪式起重機、履帶式起重機、門座式起重機、塔式起重機、叉式起重機、隨吊機、龍門起重機;地基處理機械:沖擊式反循環鉆機、回轉式鉆機、沖擊式回轉式鉆機、旋挖鉆機、反循環回轉鉆機、正循環回轉鉆機、長螺旋工程鉆機、潛水工程鉆機、靜壓樁機、打樁機;工程船舶:挖泥船;專用車:橋梁檢測車、消防車、擦窗機、平板運梁車、高空作業車、自行式高空作業平臺;輕工機械:飲料機械、吹瓶機、包裝機械、灌裝機、回轉理瓶機、注塑機;船用起重機:浮吊。
 
聯系我們
 
			掃一掃查看更多信息